近日,位于浙江省宁波市鄞州区广贤路1009号围海大厦5楼,浙江省围海建设集团股份有限公司(下称“围海股份”)财务总监胡寿胜办公室内发生了匪夷所思的一幕。该公司实控人、原董事长冯全宏的女儿冯婷婷带着多位董事及一位陌生人将公司公章和财务章一起抢走,同时限制财务总监胡寿胜及印章保管员刘芳的人生自由。
这是12月14日,上市公司围海股份公告披露的一出公司高层“内斗”闹剧。根据公告,围海股份针对公章被抢以及员工被限制人生自由等行为,已向宁波市公安局高新技术开发区分局报案。

图源:围海股份13日公告
官网显示,围海股份主营水利工程建设,下辖上海千年城市规划工程设计有限公司等30余家子公司,于2011年6月在深交所中小板上市,股票代码002586.2019年5月,因其控股企业浙江围海控股集团有限公司(下称“围海控股”)及实际控制人之一、董事长其关联方违规担保的6亿元未解除,公司股票被实行其他风险警示,股票简称由“围海股份”变为“ST 围海”。
12月15日,在围海股份控股股东——围海控股主导的媒体发布会上,给出了与围海股份13日公告完全相反的说法。据证券时报·e公司报道,围海控股表示,围海股份相关印章等物品是交接是各方协商一致的结果。因现任董事长仲成荣要求财务优先划拨1.1亿元到其指定账户,违反了此前会议商定的资金使用原则,才发生了双方相关证章资料的交接,并不存在“强拿”一说,更不存在限制相关人员人身自由。
冯全宏称,12月6日,宁波高新区管委会经发局主持召开围海股份、围海控股联席会议,会议明确要求资金优先用于农民工工资、员工工资、施工项目必要的流动资金等。12月12日,围海股份收到回笼资金2.3亿元,双方对这笔钱的使用产生分歧。
值得注意的是,在当日沟通会上,被指“抢夺公章”的当事人——围海控股拟任董事黄晓云坐在冯全宏身侧,指责围海股份公告相关事项为“子虚乌有”,并发表签名《声明函》要求围海股份对其公告道歉。
12月16日上午,时间财经致电宁波市公安局高新技术开发区分局,相关工作人员转接至该开发区梅墟派出所。宁波市高新区公安局分局梅墟派出所工作人员表示自己并不清楚围海控股的事件,具体信息还待核实,且暂时不方便透露更多,随即挂断电话。
12月16日午间,时间财经查阅围海股份公告发现,其董事会再发布公告表示,除由财务总监胡寿胜监管的两枚原法人代表冯全宏印章,及一枚原总经理杨贤水印章未能取回外,其他重要办公资料均已从梅墟派出所取回并暂时予以封存。
随后,围海股份也收到了中小板公司《关注函》,《关注函》明确要求围海股份在12月18日之前,将公司公章“被强拿”一事中围海股份公告与围海控股回应不一致,以及围海控股称围海股份现有管理层恶意设置“黄金降落伞”之事核实查明,并对外公告。
截至发稿,时间财经多次联系围海股份和围海控股,均未获回复。
涉7亿元违规担保
围海股份的“抢公章”闹剧,看起来更像是公司实控人及原董事长冯全宏和现任董事长仲成荣之间的“夺权战”。
天眼查资料显示,围海股份目前第一和第二大股东分别为围海控股和上海千年工程投资管理有限公司。2017年8月围海股份进行了一次大的资产重组。彼时,围海股份作价14亿元向千年投资、仲成荣等31名交易方收购千年设计88.23%股权,2018年6月收购正式完成,仲成荣与妻子王永春以及千年投资持有围海股份6.51%股权,成为公司第二大股东。冯全宏本人则间接持有围海股份17.76%股权。

围海股份两大股东股权情况图源:天眼查
在长达2年的“联姻”期内,冯全宏主导的围海控股与仲成荣主导的千年投资融合还算“融洽”,事情的转折出现在2018年下半年。据中国证券监督管理委员会宁波监管局发布的违规处理信息显示,2018年7月,围海控股将持有的围海股份的2,825万股、175万股股票予以质押,合计占围海股份总股本的2.62%。但围海控股并未将这两次股权质押信息告知围海股份,导致围海股份2018年10月25日才予以公告围海控股以高比例质押围海股份股票。


围海股份因违规担保被被深交所公开谴责图源:天眼查
随后围海股份违约担保之事频繁被曝光。2018年11月到今年2019年3月间,浙江围海贸易有限公司、宁波朗佐贸易有限公司在长安银行宝鸡顺水鱼外汇支行合计开立银行承兑汇票4.6亿元。围海股份实际控制人之一、董事长冯全宏将公司在长安银行宝鸡顺水鱼外汇支行的4.6亿元存单作为对上述承兑汇票的担保(其中3.2亿元存单系使用暂时闲置的募集资金存入)。其中围海贸易是围海控股全资子公司,而宁波朗佐贸易是围海控股关联方。
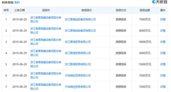
据公告,2019年8月23日,围海股份称新发现两笔违约担保事件,涉及本金分别为680万元本金和1343万元,此外还有利息等其它费用。2019年9月20日,围海股份再发现两起违规担保事项,涉及本金1.34亿元、9799万元。

围海股份存在大量对外担保情况图源:天眼查
对此,北京市炜衡律师事务所汪高峰律师对时间财经表示,此案违反了《公司法》第十六条,公司为公司股东或者实际控制人提供担保的,必须经股东会或者股东大会决议。涉及股东和高管滥用权利,相关责任人不仅要承担赔偿责任,证监会也可对其进行处罚。其他股东可提起诉讼,也可以证明未经股东会决议的对外担保无效。
时间财经查阅围海股份公告发现,截止于今年11月21日,围海股份为围海贸易存单质押的1.6亿元以及为宁波朗佐贸存单质押的4.4亿元均未解除,围海股份回复深交所表示争取在2020年2月底解除。此外,作为子公司,围海股份目前还承担了围海控股1.2个亿的连带责任保证金,总计7.2亿余元被质押。
围海股份也因大额违约担保被深交所多次问询,并于今年5月被下达退市风险警示,股票简称由“围海股份”变为“ST 围海”。或是由于围海股份违规担保,加上涉嫌信披违规被查处,控股股东出现债务危机,冯全宏将公司的管理权委托给了二股东。
2019年7月31日,在时任董事长冯全宏主持的董事会上,全票赞成了对仲成荣等董事、监事的提名,由仲成荣组建新的董事会。8月16日的第二次临时股东大会上,仲成荣等人当选,并得到了围海控股的支持。
但换届后的围海股份与预期出现较大偏差。今年10月,以仲成荣为代表的围海股份董事会公告表示,鉴于冯全宏、围海控股、围海贸易严重损害公司及广大中小股东的利益,对外构成越权和无权代表等原因,已向宁波市中级人民法院提起《民事诉状》。
随后在短短三个月后的11月14日,围海股份公告控股股东围海控股通过函件提请召开股东大会,要求围海股份现任6名董事,其中包括现任董事长仲成荣,而被提议罢免的3名监事中,亦包括现任监事会主席黄昭雄。不过围海股份以资料不足为由搁置了该项提案。在长达一年的纷争之后,此次“抢夺公章”之事也让新旧董事长之间的矛盾达到顶点。
或被转让
不过,在15日沟通会上,冯全宏否认了“强抢公章”之事,其还表示与现任管理层之间的矛盾还在于围海股份未来是要“抱国企大腿”,还是走向民企之间的分歧。
据证券时报·e公司报道,围海控股指控仲成荣、总经理陈晖,未经董事会薪酬委员会同意,于今年12月安排上市公司与管理层签署《劳动合同补充协议》,规定高管可以单方面辞职,上市公司必须承诺无条件支付巨额赔偿金。
在围海控股看来,现任现有管理层恶意设置“黄金降落伞”,涉嫌损害上市公司和中小股东利益。冯全宏更是强调,围海股份现任管理层已经形成了内部人控制,并涉嫌披露虚假信息,“近期上市公司信息披露工作上,屡屡涉嫌信息未披露,未及时披露,未充分披露甚至是虚假披露的情况。在大股东看来,这样做可能是由于其工作的不专业,但也有可能是为了某些人的私利而故意为之。”
值得一提的是,今年5月份,围海控股曾试图甩掉“烂摊子”围海股份。今年5月,围海股份曾公告宣布,围海控股拟将围海股份29.8%的股权转让给宁波交投。但三个月后,宁波交投选择了宁波建工而放弃了围海股份,使得围海控股的转手被终止。
时间财经查阅围海股份最新财报发现,截至2019年9月30日,围海股份共有总资产104亿元,总负债48.9亿元,资产负债率为47.1%。而今年前三季度,围海股份实现营业收入21.7亿元,同比降5.77%;实现归母净利润8966.94万元,同比下降51.72%。
此次发布会上,冯全宏也表示,控股股东、前任董事会等一直在积极引进有实力的战略投资人。除了宁波交投,于2019年6月-11月,控股股东一直在积极对接洽谈国企央企背景的战略投资。因为在他看来,“像围海股份这种工程类上市公司,未来的发展应该向国有企业、特别是向央企靠拢,一定要抱大腿。但二股东不认可这一点,认为要走民企发展方向,依靠私募的力量发展”,这也是双方对围海股份未来发展方向存在的根本分歧。
不过,围海股份将于12月24日召开临时股东大会,审议围海控股提出的涉及罢免、选举董事监事等事项的提案。围海股份的股东纷争或将有一个结果。
(文章来源:时间财经)
(责任编辑:DF506) 郑重声明:东方财富网发布此信息的目的在于传播更多信息,与本站立场无关。